
Кожухотрубчатые теплообменники
Что такое теплообменники кожухотрубчатые ?
В категории теплообменной техники одним из самых распространенных видов является кожухотрубчатый теплообменник. Кожухотрубный теплообменник — это устройство обмена тепла между двумя разными потоками. Агрегаты этого вида применяются во многих промышленных отраслях. Высокая популярность, которой пользуются кожухотрубные теплообменники, обусловлена их простым устройством, доступностью стоимости на материалы изготовления. Высокая эффективность оборудования, низкая цена позволяет с их помощью решить большое количество различных задач.
Принципы классификации в маркировке теплообменников
Кожухотрубчатые теплообменники на заказ имеют трехбуквенную маркировку. Она отражает особенности устройства по принципам классификации.
Первая буква позволяет определить основную функцию трубчатого теплообменника. По этому принципу устройства делятся на:
- универсальные – Т;
- конденсаторы – К;
- испарители – И;
- холодильники – Х.
Во второй букве отражены особенности конструкции кожухотрубных теплообменников:
- Н – с неподвижными трубными решетками;
- К – модели с температурным компенсатором, закрепленном на обечайке;
- П – устройство с плавающей головкой;
- У – с трубами U-образной формы.
В модельном ряду есть варианты, содержащие несколько конструкционных особенностей. К примеру, это может быть прибор с температурным компенсатором на обечайке и плавающей головкой.
Третья буква обозначает вид расположения теплообменного аппарата:
- В – вертикальное;
- Г – горизонтальное.
Особенности устройства оборудования, элементы конструкции
Корпусом кожухотрубчатого аппарата является обечайка. К ее торцам фиксируются решетки из труб. Они закрываются дополнительными крышками, обеспечивающими разделение трубного и межтрубного пространства. В решетке герметично закреплен пучок из труб. Этот тип конструкции применяется для всех видов кожухотрубных теплообменных аппаратов.
Технику этой категории стоит купить для операций с газообразными или жидкими агентами. Эффективность кожухотрубных теплообменников с неподвижными трубными решетками может быть повышена внедрением различных конструктивных особенностей. Увеличить площадь, интенсивность отдачи тепла можно заменой стандартных гладких труб на диафрагмированные аналоги. Установка перегородок в межтрубных пространствах повышает турбулентность потоков.
Типы кожухотрубчатого оборудования, главные узлы аппаратов
Важнейшим фактором высокой популярности кожухотрубных аппаратов является простая конструкция, несложная технология их изготовления на заказ по максимально доступной цене.
По своей конструкции это теплообменное оборудование делится на три вида:
- с жестко зафиксированными решетками, с жестким кожухом – ТН;
- с тепловым компенсатором на корпусе – ТК;
- с плавающей головкой – ТП.
Кожухотрубные теплообменники всех типов могут выполнять различные функции. Их можно купить в качестве подогревателей, конденсаторов, испарителей, холодильников. Скорость перемещения теплоносителя, величина коэффициента отдачи тепла зависит от количества ходов в приборе. В модельном ряду имеются устройства 2-х, 4-х, 6-ти, 12-тиходовые.
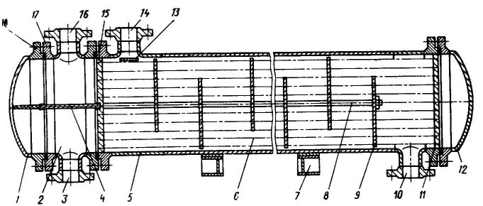
Кожухотрубные теплообменники типа ТН
На чертеже:
1, 12 – крышка (днище);
2 – распределительная камера;
3, 16 – штуцера для ввода и вывода теплоносителя, подаваемого в трубное пространство;
4 – перегородка;
5 – кожух;
6 – трубный пучок;
7 – седловидная опора;
8 – стяжка;
9 – сегментная перегородка;
10, 14 – штуцера для ввода и вывода теплоносителя, подаваемого в межтрубное пространство;
11, 15 – трубная решетка;
13 – отбойник;
17, 18 – фланцы.
Трубные элементы модели герметично присоединены к решеткам. Они в свою очередь жестко фиксируются на кожухе. Это приводит к удлинению кожуха, опровода, создает разницу температур, что формирует температурные напряжения в зонах соединений.
Разности температур зависят от вида материалов изготовления конструкции, от величины кожуха уровня давления, создаваемого в приборе. Для агрегатов ТН типа допустимый диапазон от 30 до 40°C.
Кожухотрубчатые теплообменники типа ТК
На чертеже:
1 – линзовый компенсатор.
Агрегаты типа ТК отличаются наличием компенсатора. Это устройство компенсирует создаваемые температурные удлинения трубных элементов.
Разница температур приводит к различиям в степени удлинения кожуха. При снижениях, повышениях температурных показателей трубный пучок укорачивается или удлиняется больше. Это становится причиной формирования температурных напряжений. В кожухотрубных теплообменниках с тепловым компенсатором на кожухе они минимизированы. Устройство сжимается или расширяется, существенно снижая величину температурных напряжений в зоне фиксации кожуха, трубной решетки и труб.
Для агрегатов с тепловым компенсатором на кожухе допускается разница между температурами труб и кожуха, приводящая к разности удлинения в пределах 10 миллиметров. Допустимый показатель зависит от длины труб.
Кожухотрубные теплообменники типа ТП
На чертеже:
1 – фланцевая крышка;
2, 17 - штуцера для ввода и вывода теплоносителя, подаваемого в трубное пространство;
3 – распределительная камера;
4 – кожух;
5 – трубный пучок;
6, 15 – штуцера для ввода и вывода теплоносителя, подаваемого в межтрубное пространство;
7 – отбойник;
8 – крышка;
9 – крышка “плавающей головки”;
10 – подвижная трубная решетка;
11 – фланцы;
12 – роликовая опорная платформа;
13 – седловидная опора;
14 – сегментная перегородка;
16 - неподвижная трубная решетка.
Вариант типа ТП оснащен плавающей головкой. В процессе удлинения труб, формирующегося во время нагревания, в конструкции свободно перемещается специальный элемент. В кожухотрубчатом теплообменнике с плавающей головкой они удлиняются беспрепятственно.
Преимущества кожухотрубчатых теплообменных устройств
В настоящее время наблюдается рост потребительского спроса на кожухотрубчатые теплообменные варианты. Повышенное внимание к этим устройствам сформировалось неслучайно. Данное оборудование обладает большим количеством значимых достоинств, включая оптимальную стоимость.
Основополагающим преимуществом является его максимальная устойчивость к гидравлическим ударам, которые периодически возникают в каждой системе. По этому показателю устройства являются абсолютными лидерами в своей категории.
К важному достоинству кожухотрубных моделей относится их нетребовательность к качеству теплоносителей. Устройства гарантируют стабильность функционирования независимо от среды. Другие виды агрегатов, к примеру, пластинчатые конструкции способны эффективно работать только с чистыми агентами.
Не менее важна высокая производительность кожухотрубных устройств. По эффективности теплообмена они лишь немного уступают пластинчатым агрегатам, обладающим наивысшими показателями в данной категории оборудования.
Недостатки кожухотрубчатых теплообменников
У кожухотрубных теплообменников много преимуществ. Но есть у агрегатов и недостатки, о которых пользователям необходимо знать.
Главным минусом устройств этого вида является их громоздкость. Солидные габариты являются основной причиной отказа от их установки. Не всегда можно выбрать место для монтажа оборудования.
К недостатку кожухотрубных теплообменников относится высокая стоимость, которая складывается из-за большого расхода металла на изготовление.
Информативность маркировки кожухотрубного оборудования
Специалист может получить всю информацию о кожухотрубных теплообменниках при расшифровке маркировки. Обозначение включает данные, необходимые для идентификации.
К примеру, агрегат с маркировкой 1200 ТКГ-1,2-0,8-М1/20Д-5-6-У-И:
- 1200 – диаметр кожуха;
- ТКГ – техника с тепловым компенсатором горизонтального расположения;
- 1,2 – уровень давления в трубном пространстве в МПа;
- 0,8 – уровень давления в межтрубном пространстве в МПа;
- М1 – материалы изготовления;
- 20Д – диафрагмированные трубы, диаметр 20;
- 5 – длина в м;
- 6 – шестиходовой;
- У – предназначен для эксплуатации в умеренном климате;
- И – есть детали для фиксации внешней теплоизоляционной системы.
Рекомендации и советы по эксплуатации устройств
Специалисты считают кожухотрубные теплообменники требовательными устройствами. Появление износа и повреждений в процессе эксплуатации неизбежно. Но нужно учитывать, что ремонт устройства может повлечь негативные последствия. Слабым звеном такой конструкции являются трубки. Именно они в большинстве случаев становятся причиной проведения ремонтных работ. Необходимо ответственно отнестись к их замене, восстановлению, так как ошибки могут стать причиной снижения эффективности кожухотрубчатого теплообмена.
Опытные потребители, учитывают эту особенность, покупают оборудование на заказ «с запасом».
Иногда возникают сложности в процессе регулировки аппарата «по конденсату». Площадь теплообмена изменяется при любых переменах. Причем показатель изменяется нелинейно.
Не стоит пытаться самостоятельно изготовить кожухотрубчатый теплообменник. Практика показывает, что создание качественного агрегата возможно только при условии строгого соблюдения технологии изготовления.
Требования к сейсмичности площадки строительства
Благодаря передовым технологиям производства, теплообменное оборудование ООО НПО "Спецнефтемаш" способно выдерживать сейсмические воздействия вплоть до 9 баллов по шкале MSK-64. Проведенные в сентябре 2017 года испытания подтвердили это на практике, в результате чего был получен Сертификат Соответствия требованиям нормативных документов ГОСТ 30546.1-98, ГОСТ 30546.2-98, ГОСТ 30546.3-98.
Таким образом, если вам необходимо качественное теплообменное оборудование при строительстве объектов нефте-газовой промышленности в сейсмически активных районах, ООО НПО "СпецНефтеМаш" готов удовлетворить ваш спрос.
Купить кожухотрубный теплообменник
Производство кожухотрубных теплообменников на заказ по оптимальной стоимости осуществляет ООО "НПО "Спецнефтемаш". Если вам нужно купить в Озерске это оборудование, уточнить цену теплообменников, вы можете позвонить по телефону 8 800-3021-565. Можно оформить заявку на заказ на нашем официальном сайте, отправить по электронной почте заполненный опросный лист на кожухотрубчатый теплообменник.
Специалисты компании в любое время предоставят всю необходимую информацию по техническим характеристикам агрегатов, ценам, окажут профессиональную помощь в выборе оборудования с учетом требований, условий эксплуатации.
Оформлять заказы, получать требуемую информацию вы можете в следующих городах: Перми, Москве, Пензе, Тюмени, Краснодаре, Казани.
Наша компания производит кожухотрубные теплообменники на заказ по типовым проектам в соответствии с требованиями ГОСТ. Вы можете заказать у нас изготовление нестандартного агрегата по вашей схеме по доступной цене. Наши специалисты сделают чертежи, выполнят необходимые расчеты по стоимости.